Звук. Общая тема
-
lopuh
- Сообщения: 582
- Зарегистрирован: 15 янв 2018, 12:54
- Благодарил (а): 22 раза
- Поблагодарили: 15 раз
Re: Звук. Общая тема
Добрый день!
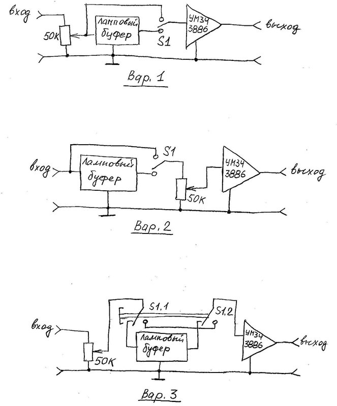
Решил разместить ламповый буфер из набора https://ru.aliexpress.com/item/AC12V-6N ... 0.0.m6K7pw
и усилок на LM 3886 в одном корпусе, но так, чтобы регулятор громкости был один (сейчас он присутствует на обеих платах), и была возможность кнопкой (например, на П2К)- включать и отключать ламповый буфер и слушать без него.
Подскажите, пожалуйста, как грамотнее выполнить коммутацию? По какому из вариантов?
И, может быть, порекомендуете, как экранировать провода к потенциометру регулятора громкости и другие провода внутри корпуса.
Решил разместить ламповый буфер из набора https://ru.aliexpress.com/item/AC12V-6N ... 0.0.m6K7pw
и усилок на LM 3886 в одном корпусе, но так, чтобы регулятор громкости был один (сейчас он присутствует на обеих платах), и была возможность кнопкой (например, на П2К)- включать и отключать ламповый буфер и слушать без него.
Подскажите, пожалуйста, как грамотнее выполнить коммутацию? По какому из вариантов?
И, может быть, порекомендуете, как экранировать провода к потенциометру регулятора громкости и другие провода внутри корпуса.
Пионеры- это такие ребята, которые делают скворечники.
- 3D-SPrinter
- Сообщения: 11032
- Зарегистрирован: 19 ноя 2015, 14:23
- Имя: Андрей
- Откуда: Н.Новгород
- Благодарил (а): 78 раз
- Поблагодарили: 1040 раз
- Контактная информация:
Re: Звук. Общая тема
Думаю, второй вариант наиболее правильный. Но на ламповом буфере надо оставить свой регулятор громкости и выставить им усиление = 1, чтобы при переключении тумблера уровень громкости не менялся. Этот регулятор можно оставить внутри корпуса и не трогать, а на переднюю панель вывести регулятор, который перед LM-кой.
Можно никак не экранировать.
-
lopuh
- Сообщения: 582
- Зарегистрирован: 15 янв 2018, 12:54
- Благодарил (а): 22 раза
- Поблагодарили: 15 раз
Re: Звук. Общая тема
Спасибо!
Не совсем разобрался, и по-моему, достаточно противоречиво пишут...
А как же всякие премудрости про экранировку: начитался всякого... В одной точке, со стороны входа(или выхода??) с какой землей соединять экраны и где?
Не совсем разобрался, и по-моему, достаточно противоречиво пишут...
Пионеры- это такие ребята, которые делают скворечники.
- 3D-SPrinter
- Сообщения: 11032
- Зарегистрирован: 19 ноя 2015, 14:23
- Имя: Андрей
- Откуда: Н.Новгород
- Благодарил (а): 78 раз
- Поблагодарили: 1040 раз
- Контактная информация:
Re: Звук. Общая тема
Бывает...
-
lopuh
- Сообщения: 582
- Зарегистрирован: 15 янв 2018, 12:54
- Благодарил (а): 22 раза
- Поблагодарили: 15 раз
Re: Звук. Общая тема
Спасибо! Статья хорошая и сайт очень интересный 
Пионеры- это такие ребята, которые делают скворечники.
- Lenivo
- Сообщения: 1817
- Зарегистрирован: 25 май 2017, 12:46
- Имя: Александр
- Благодарил (а): 92 раза
- Поблагодарили: 179 раз
Re: Звук. Общая тема
Кстати нашёл очень интересный проект по модернизации микрофонов - мне так было очень интересно. Соберу в ближайшее время пару схемок с этого сайта:
http://russelltechnologies.co.uk/microphones.html
Он конечно предлагает печатные платы под свои схемы. Но ничего не мешает самому изготовить такую плату или вообще на макетке спаять. Самое главное слегка разъясняет узкие места и пробует разные компоненты. Самое главное схемы простые , но под использование качественных радиодеталей.
http://russelltechnologies.co.uk/microphones.html
Он конечно предлагает печатные платы под свои схемы. Но ничего не мешает самому изготовить такую плату или вообще на макетке спаять. Самое главное слегка разъясняет узкие места и пробует разные компоненты. Самое главное схемы простые , но под использование качественных радиодеталей.
- 3D-SPrinter
- Сообщения: 11032
- Зарегистрирован: 19 ноя 2015, 14:23
- Имя: Андрей
- Откуда: Н.Новгород
- Благодарил (а): 78 раз
- Поблагодарили: 1040 раз
- Контактная информация:
-
lopuh
- Сообщения: 582
- Зарегистрирован: 15 янв 2018, 12:54
- Благодарил (а): 22 раза
- Поблагодарили: 15 раз
Re: Звук. Общая тема
Требуется ли отладка по "Динамиту" и подбор транзисторов по параметрам?3D-SPrinter писал(а): ↑28 фев 2018, 19:15Окончательная (правильная) схема "Динамита" и платы с моими дополнениями.
Пионеры- это такие ребята, которые делают скворечники.
- 3D-SPrinter
- Сообщения: 11032
- Зарегистрирован: 19 ноя 2015, 14:23
- Имя: Андрей
- Откуда: Н.Новгород
- Благодарил (а): 78 раз
- Поблагодарили: 1040 раз
- Контактная информация:
Re: Звук. Общая тема
Ничего не нужно - ни настройка, ни подбор транзисторов. Собранный без ошибок усилитель должен сразу работать.
-
Rim
- Сообщения: 82
- Зарегистрирован: 21 май 2018, 18:32
- Имя: Hbv
- Благодарил (а): 64 раза
- Поблагодарили: 1 раз
Re: Звук. Общая тема
Здравствуйте всем!
Очень хороший раздел "Звук". Спасибо хозяину за труды. 3D-SPrinter, как вы относитесь к мостовым усилителям? Они обычно играют лучше обычных, т.к. сигнал не проходит через БП.
Очень хороший раздел "Звук". Спасибо хозяину за труды. 3D-SPrinter, как вы относитесь к мостовым усилителям? Они обычно играют лучше обычных, т.к. сигнал не проходит через БП.
- Alex Post
- Сообщения: 7028
- Зарегистрирован: 11 янв 2017, 17:22
- Имя: Александр
- Откуда: Брест, РБ
- Благодарил (а): 333 раза
- Поблагодарили: 822 раза
- Контактная информация:
Re: Звук. Общая тема
Prusa i3 rework - трудится с 2015 года
Черно-оранжевый 3D-SPrinter 232 - https://3deshnik.ru/forum/viewtopic.php?f=21&t=393
Черно-оранжевый 3D-SPrinter 232 - https://3deshnik.ru/forum/viewtopic.php?f=21&t=393
-
Rim
- Сообщения: 82
- Зарегистрирован: 21 май 2018, 18:32
- Имя: Hbv
- Благодарил (а): 64 раза
- Поблагодарили: 1 раз
Re: Звук. Общая тема
Один провод динамика идет к выходу одного усилителя , а другой провод динамика к выходу другого усилителя. Т.е. общий провод усилителя не контактирует с выходом.
- 3D-SPrinter
- Сообщения: 11032
- Зарегистрирован: 19 ноя 2015, 14:23
- Имя: Андрей
- Откуда: Н.Новгород
- Благодарил (а): 78 раз
- Поблагодарили: 1040 раз
- Контактная информация:
Re: Звук. Общая тема
На здоровье! Рад, что понравилось.
Честно говоря, не очень я к ним отношусь, да и давным-давно с ними не экспериментировал.
А в общем и целом у меня по усилителям сложилось примерно такое мнение:
Ламповые оконечники - фтопку (даже с самыми дорогими выходными трансами). Мракобесие это.
Китайский D-класс - для автомобильных сабов. Для домашнего аудио лучше вообще не использовать.
Интегральные типа LM3886 - для домашней акустики самого начального уровня. На более-менее приличных динамиках сразу будет слышно, что у LM-ки ватный бас и замыленный верх / середина.
Минимум для более-менее приличной акустики - усилитель Динамит viewtopic.php?f=30&t=341&p=22500#p22500 . Он очень даже неплох на мощностях до 50 Вт.
Ну и совсем хорошо - усилители из серии YES http://forum.vegalab.ru/showthread.php?t=70093 . Но на мощностях до 30-50 Вт они по соотношению цена-качество хуже Динамита.
- Alex Post
- Сообщения: 7028
- Зарегистрирован: 11 янв 2017, 17:22
- Имя: Александр
- Откуда: Брест, РБ
- Благодарил (а): 333 раза
- Поблагодарили: 822 раза
- Контактная информация:
Re: Звук. Общая тема
Как устроен мостовой усилитель я в курсе. В багажнике наглядное пособие ездит и качает сабRim писал(а): ↑21 май 2018, 19:22Т.е. общий провод усилителя не контактирует с выходом.
Prusa i3 rework - трудится с 2015 года
Черно-оранжевый 3D-SPrinter 232 - https://3deshnik.ru/forum/viewtopic.php?f=21&t=393
Черно-оранжевый 3D-SPrinter 232 - https://3deshnik.ru/forum/viewtopic.php?f=21&t=393
-
Rim
- Сообщения: 82
- Зарегистрирован: 21 май 2018, 18:32
- Имя: Hbv
- Благодарил (а): 64 раза
- Поблагодарили: 1 раз
Re: Звук. Общая тема
Просто я как то слышал мостовой усил на TDA 2030 и был впечатлен качеством.
Вот мостовик по смешной цене. Правда без БП, но в корпусе:
https://ru.aliexpress.com/item/weiliang ... 0000000000
